Flyvestation Værløse - inden og uden for hegnet 1959 - 1995

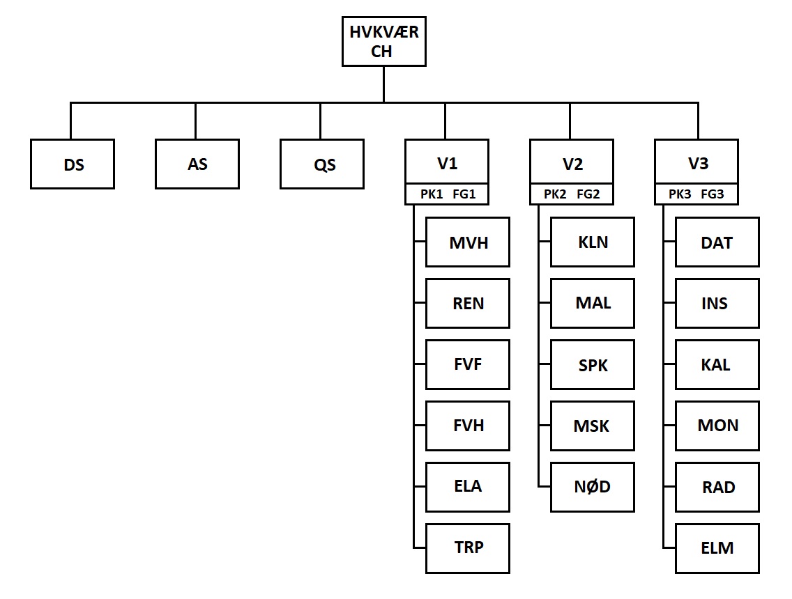
Hovedværkstedets organisationsdiagram som det så ud 1990-95 [10-2].
Herunder: Hughes 500 (til venstre) og Westland Lynx var begge helikoptere, som dagligt sås på Flyvestation Værløse. Her er det til Åbent Hus i juni 2002. Fotos: Richard Beck Madsen [10-3]
Flyvestation Værløse - inden og uden for hegnet 1959 - 1995 Side 164